- EIGENSCHAPPEN FABRIKANT
- EIGENSCHAPPEN
- Beschrijving
- DOCUMENTEN
- CERTIFICATEN
- VIDEOS
- HANDLEIDINGEN
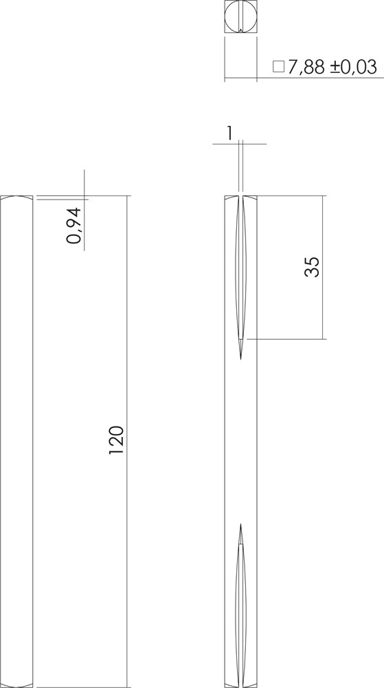
- TEKENINGEN
- DEEPLINK
- EXTRA INFORMATIE
Andere uitvoeringen
Stift beide zijden zaagsnede 9750

Merk: INTERSTEEL
materiaal
staal
bewerking (fabricage, afwerking)
verzinkt
Artikelnr
Vergelijk
Prijs
Eenheid